一、產品簡介:
精度高,性能穩定。適用于鋼絲繩張力的長期測量與監控。
二、技術指標:
|
量程 |
10~200kN |
輸入阻抗 |
750±15Ω |
|
靈敏度 |
1.0~1.5mV/V |
輸出阻抗 |
700±5Ω |
|
綜合精度 |
0.3%F.S |
絕緣電阻 |
>5000 MΩ |
|
蠕變 |
±0.05%F.S/30min |
供橋電壓 |
建議10VDC |
|
零點輸出 |
±1%F.S |
工作溫度 |
-20~+65℃ |
|
零點溫度影響 |
±0.05%F.S/10℃ |
安全過載 |
150%F.S |
|
輸出溫度影響 |
±0.05%F.S/10℃ |
材質 |
合金鋼或不銹鋼 |
|
接線方式 |
輸入:紅(+)黑(-) 輸出:綠(+) 白(-) |
||
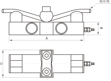
三、外形尺寸:

|
鋼絲繩張力 |
鋼絲繩直徑
|
尺寸/mm |
||
|
kN |
mm |
A |
B |
C |
|
10 |
Ф6~Ф14 |
160 |
28 |
60 |
|
20 |
Ф10~Ф18 |
160 |
28 |
60 |
|
50 |
Ф16~Ф26 |
180 |
34 |
68 |
|
100 |
Ф24~Ф36 |
200 |
40 |
80 |
|
200 |
Ф24~Ф36 |
240 |
46 |
90 |





